加入购物车成功!
本阀主要适用于火电厂干灰系统灰、渣进料的启闭之用,也适用于矿山、石灰厂、水泥厂等有磨损、腐蚀的粉尘介质进料的启
闭。本阀门具有密封性能好,耐高温,耐磨性强,启闭灵活,无卡灰及积灰现象,使用寿命长等特点。
TK 耐磨陶瓷进料阀产品主体采用铸钢、铸铁、耐磨陶瓷组合而成。
使用温度≤ 250℃
执行机构公称压力为0.4-0.6Mpa,阀门公称压力为1Mpa。
也可以根据用户要求定制。

进料阀安装说明
欢迎您选用本公司产品。为了延长使用寿命,提高工作效益,本阀门在安装时切勿碰坏气缸,水平安装在仓泵上即可。
本阀门返回迅号采用进口电感磁性开关二线制,通过负载本迅号线可适应直流,交流均可。
安装、使用要点
1、安装前应仔细阅读本说明、并核对阀门型号、通径及技术参数。
2、严禁装上阀门后施焊法兰,以避免损坏阀门密封圈。管道自先预留的阀门安装距离应适当,法兰两边加垫片。
3、两管道中心与阀门通径中心应保持同轴,法兰面应平整,不允许法兰面有较大的偏斜,以保证阀门的夹紧和正常工作。拧
紧螺栓应做到均匀对称。
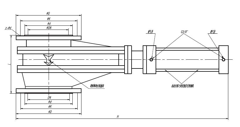
TK(TC)Z646CE-10Q-JB10双闸气锁耐磨陶瓷进料阀外形尺寸、连接尺寸以及执行器型号表
通径(mm) 连接尺寸外形尺寸及配置执行器(mm)
DN D K d b Z-Φd L H FQGA
150 285 240 210 18 8-Φ22 290 920 125×170
200 340 295 266 20 8-Φ22 310 1120 125×230
200×300 340×445 295×400 266×370 22 8-Φ22 340 1120 125×230
200×350 340×520 295×470 266×445 22 8-Φ22 340 1120 125×230
250 395 350 320 26 12-Φ22 400 1372 160×275
250×300 395×445 350×400 320×370 26 12-Φ22 400 1372 160×230
300 445 400 370 26 12-Φ22 400 1430 160×325








