加入购物车成功!
用途与原理
主要技术参数
气动三通切换阀是用来将单路输送的物料一分为二的换向器,其设计xj****合理,操作方便合可靠,为管道
正压气力输送提供了一个可靠的换向器。本阀门广泛应用于火电厂干灰系统灰、水泥、水泥生料、石灰石、煤粉以及其他粉粒状等固体干燥松散的物料输送系统。
切换阀的密封元件由耐磨陶瓷材料制成,并经配磨后组合,平面接触、弹簧加压,能保持对阀口通道的可靠
密封。
切换阀配有阀用气动装置(气缸),通过它能使阀停在恰当的位置上。
工作压力:0.3Mpa 供气压力:0.4-0.6Mpa
适用温度:-20℃< t < 150℃ 密封试验:1.0Mpa

操作与使用
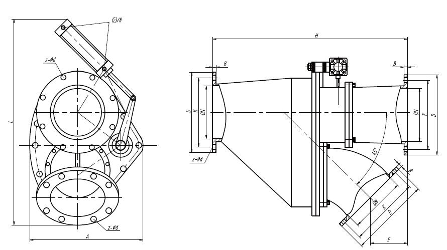
TK(TC)STCE-10C气动三通耐磨陶瓷切换阀外形尺寸、连接尺寸以及执行器型号表
安装与调整
为求***佳运转状况,在安装时都应将阀位操纵杆装在输送线的顶部或侧面。将阀位操纵杆装在输送线的顶部***为理想。阀
的密封是通过阀盘和阀座的叠合来实现的。因此,阀的支承应独立于输送线,且不应受力于管道装置,另外,还应该采取措施,
不能因管道受热膨胀而使阀受力。
切换阀的安装,应能防止阀关闭支路中的空气压力作用于阀盘密封面。见图所示
阀盘的换位应在系统停止工作(无压)情况下进行,不要在系统输送物料时操纵阀门换向,这是因为:
(1)阀盘处于管道压力之中,在有负荷的情况下使其运动,会加速磨损;
(2)在有负荷的情况下使其移动,会产生高于正常扭矩的负荷而使阀盘无法正常工作。
(3)若在系统输送物料时阀盘换位,则会在阀的某一路管线中产生失压而造成物料堆积。当下次重新启用这一路时,会引起
系统堵管、压力波动和空气压缩机的超载等异常情况。阀盘换位前应将输送管理清,吹干净。在系统停下,操纵阀换向时,先转
动阀位操纵杆数次,然后再将阀盘换到所需位置是十分有利的,这样既清洁了阀座又延长了阀的寿命。
输送系统停用期间,定期转动阀位操纵杆,有利于清除阀座上的灰尘和能凝水等积污,使阀座获得更长的寿命。
气动切换阀的自动开启和关闭是由阀用气动装置(气缸)来完成的。接通电源、气源,气缸驱动阀芯换位,使阀停在恰当的位置。
通径(mm) 连接尺寸外形尺寸及配置执行器(mm)
DN D K H L A B C E F Z-Φd
150 285 240 757 720 470 22 97.5 123 287 8-Φ22
200 340 295 935 925 536 23 115 145 360 8-Φ22
250 395 350 1000 1038 590 25 137.5 150 410 12-Φ22
300 445 400 1070 1140 645 25 165 195 478 12-Φ22








